Настольно-сверлильный станок ГС2112

Настольный сверлильный станок ГС2112 можно купить в Москве. Он подходит для обработки отверстий в заготовках.
Применяют в промышленном производстве и в мастерских различного типа благодаря длительному сроку эксплуатации, простоте управления.
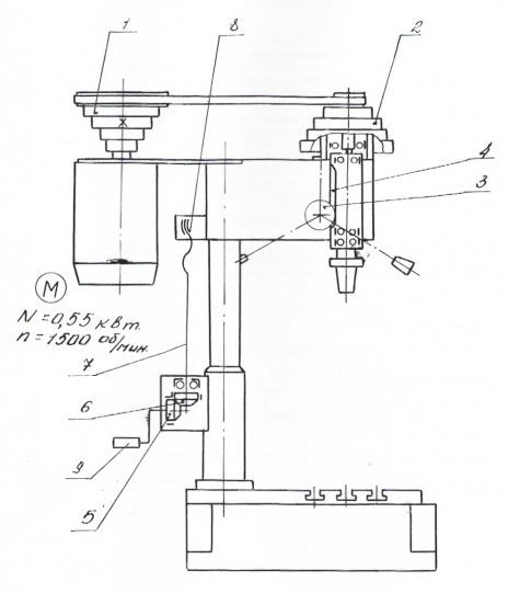
Составные части сверлильного станка ГС2112:
- плита
- колонна
- шпиндельная бабка
- механизм подъема шпиндельной бабки
- электрооборудование
Простота управления обеспечена конструкцией сверлильного станка . Глубину обработки отсчитывают по круговому лимбу штурвала. К основным параметрам станка ГС2112 относят наибольший диаметр сверления, вылет и максимальный ход шпинделя.
Чугунная станина повышает точность обработки.
Верхний предел частоты вращения шпинделя обеспечивает обработку отверстий малого диаметра.
Пятиступенчатые шкивы привода позволяют получать пять скоростей вращения шпинделя, что обеспечивает свободный выбор скоростей резания.
Конструкция натяжения ременной передачи предоставляет возможность быстро сменить положение ремня на шкивах, чтобы получить необходимую скорость резания.
| Параметр | Значение |
|---|---|
| Максимальный диаметр сверления, мм | 12 |
| Количество скоростей шпинделя | 5 |
| Частота вращения шпинделя, об/мин | 450...4500 |
| Мощность электродвигателя главного привода, кВт | 0,55 |
| Наибольший ход сверлильной головки, мм | 250 |
| Наибольший ход шпинделя, мм | 100 |
| Размер конуса шпинделя | В18 |
| Вылет шпинделя, мм | 190 |
| Количество Т-образных пазов, шт. | 3 |
| Ширина паза | 14Н14 |
| Расстояние между пазами, мм | 100 |
| Мощность привода, кВт | 0,55 |
| Род тока питающей сети | переменный трехфазный |
| Частота, Гц | 50 |
| Напряженность питающей сети, В | 380 |
| Поверхность стола, мм | 300х300 |
| Габаритные размеры тумбы, мм: | 505 |
405 |
|
720 |
|
| Масса тумбы, кг | 35 |
| Габаритные размеры упаковки, мм | 900 |
590 |
|
1020 |
|
| Масса, кг | 100 |
Настольно-сверлильный станок ГС2112, комплект поставки :
- станок в сборе
- документация, руководство по эксплуатации
Установочные размеры
- a - без тумбы
- б - для тумбы
Кинематическая схема ГС2112
Схема содержит следующие кинематические цепи: вращения шпинделя, ручной подачи, перемещение шпиндельной бабки по колонне.
![]() |
|

